彩博888

欢迎来到深圳市春亨工具仪器有限公司

进口加工测量工具综合供应商

16年经验总代理 | 品牌正规授权 | 专业售后支持

全国服务热线:

13612997620
13923746165

春亨产品中心

按产品特性分类
水平仪 偏心仪 角度计 直角尺 同心度仪 高速主轴 内外测卡规 打磨机 钻石膏 各种量表 磨刀石 研磨油石 切削刀具 研磨刷 研磨工具 磁性工具 放大镜 内视镜 卡尺 千分尺 圆周尺 扭力工具 针规 间隙规 速度测试 高度尺/计 测量工具 硬度计 段差尺 焊道规 V型座 磁性吸盘 推拉力计 吊重磁盘 工业胶粘剂 研磨抛光 钳类工具 旋具工具 热敏试纸 粘度计 电子称 金属锉刀 复制胶膜 螺帽规 背孔刀 气动主轴 自动换刀主轴 防静电主轴 MSIY电主轴 高精密主轴 大扭矩电主轴 高斯计 直角电主轴 进口百分表 扭力起子 中村扭力扳手 脱磁器 螺纹深度规 主轴增速刀柄 RBZ浮动主轴 中心出水电主轴 气浮主轴 螺纹规
按应用领域分类
工程机械 数控机床 汽车制造 电子/光电 橡胶皮革检测 船舶制造 实验室/研究院 纺织业 精加工 雕刻 珠宝首饰 陶瓷工业 抛光去毛刺 PCB分板机加工 铣削加工 钻孔动力头 医疗加工 走心机高频铣 浮动去毛刺 小径深孔加工
按品牌分类
AAA ASKER B2 BOWERS CITIZEN DMT FUJITOOL FISSO FUJIGEN HONDA GLOI HEINE KANETEC IMADA KANON KAYDIAMOND KROEPLIN MEYER MARUI MITUTOYO NAKANISHI PEACOCK PEAK PHOENIX PI-TAPE RSK RHEINTACHO SK SPI SUN SUPERTECH SWAN UNIVERSAL NOVAPAX XEBEC WIXEY Teclock tohnichi 富士KOSOKU RUBICON KEIBA TAJIMA NIKON Stanley SPI Engeering MARKAL PTC TMC THERMAX RION SHINKO STAO佐藤 TSUBOSAN OSKAR SCHWENK MARK-10 Microset starrett EENPAIX OJIYAS DIGITECH ROECKLE tites swiss Yamato Cherry DAIWA RABIN MSIY NRS PPS NSK

相关资讯

咨询热线:

彩博888 13612997620

传真:彩博8880755-23033513

Q Q:

地址:深圳市宝安49区华创达文化科技产业园D栋507

prevnext

西铁城CITIZEN探针IPD-B505F

  • 本测定器采用光电检出方式检出中心轴的直线移动量并转为数据。 与以往的表盘式计测器所采用的回转角度转换为长度的计测方式不同,本测定器全测定范围内都可以得到高精度的测定值。 另外,检测器与显示器分离的方式,适合用于机械的组立。多种显示和控制用显示器可供选择,具备单一测定、和差演算、峰值对峰值、3段精度显示等功能可满足各种测量需求
  • 咨询热线:0755-29695109
  • 产品详情

  • 联系我们

    西铁城CITIZEN比测探针IPD-B505F



    产品应用: 



    本测定器采用光电检出方式检出中心轴的直线移动量并转为数据。

    与以往的表盘式计测器所采用的回转角度转换为长度的计测方式不同,本测定器全测定范围内都可以得到高精度的测定值。

    另外,检测器与显示器分离的方式,适合用于机械的组立。多种显示和控制用显示器可供选择,具备单一测定、和差演算、峰值对峰值、3段精度显示等功能可满足各种测量需求



    产品特点: 




    1,  超小型盒装设计、适合植入设备中使用。,

    2,  具备原点检出功能,关闭电源后不需再进行归零。

    3,  固定螺丝设计在检测器下部,可避免安装过紧时破传感器本体。

    4,  IP67保护等级,EMC指令(CE认证)


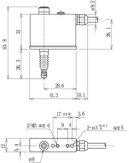
    产品规格尺寸: 




    形式

    IPD-B505F/05M

    IPD-B505F/2M

    IPD-B505F/2M-03N

    测量范围

    5mm

    读取量

    0.5μm

    指示精度

    1μm以下

    测定力

    1.08N以下

    0.3N以下

    响应速度※1

    2000mm/sec

    保护等级

    IP67

    原点位置

    距离行程下死点约1.3mm

    重量

    约63g

    约110g

    链接线长

    0.5m

    2m

    标准规格

    测头※2

    F-201(陶瓷)

    橡胶防尘套

    M-138

    ⊙特殊规格(如测定力等)的订制请与我们洽谈.

    1即为保证正常输出信号条件下测定轴可达到的快移动速度

    2可更换其他规格的测头使用。





    产品使用: 



    【下方固定可实现高密度装配】



    采用固定孔下置的设计,可以进行高密度的多组组合,并可以避免由于锁定套筒过紧造成的动作不良。具有定位孔,可对应定位栓使用,重新安装时更加方便。


    配件延长线

    长度

    2m

    3m

    5m

    10m

    型式

    SDA-2340-(1)2M

    SDA-2340-(2)3M

    SDA-2340-(4)5M

    SDA-2340-(6)10M

    ⊙IPD-B505F、IPD-P510、IPD-B515、IPD-B535、IPD-C1003、DG-105B共同的缆线。

    日本西铁城CITIZEN电子比测探针|位移传感器|数字式电子尺|量表

    彩博888 订购:西铁城CITIZEN探针IPD-B505F

    联系我们 CONTACT US

    彩博888深圳市春亨工具仪器有限公司

    公司地址:深圳市宝安49区华创达文化科技产业园D栋507

    • 13923746165
    • tianguoxiu@prosperoustooling.com.cn

    关注我们QR CODE

    手机扫一扫

    返回顶部