春亨产品中心
- 按产品特性分类
- 水平仪 偏心仪 角度计 直角尺 同心度仪 高速主轴 内外测卡规 打磨机 钻石膏 各种量表 磨刀石 研磨油石 切削刀具 研磨刷 研磨工具 磁性工具 放大镜 内视镜 卡尺 千分尺 圆周尺 扭力工具 针规 间隙规 速度测试 高度尺/计 测量工具 硬度计 段差尺 焊道规 V型座 磁性吸盘 推拉力计 吊重磁盘 工业胶粘剂 研磨抛光 钳类工具 旋具工具 热敏试纸 粘度计 电子称 金属锉刀 复制胶膜 螺帽规 背孔刀 气动主轴 自动换刀主轴 防静电主轴 MSIY电主轴 高精密主轴 大扭矩电主轴 高斯计 直角电主轴 进口百分表 扭力起子 中村扭力扳手 脱磁器 螺纹深度规 主轴增速刀柄 RBZ浮动主轴 中心出水电主轴 气浮主轴 螺纹规
- 按应用领域分类
- 工程机械 数控机床 汽车制造 电子/光电 橡胶皮革检测 船舶制造 实验室/研究院 纺织业 精加工 雕刻 珠宝首饰 陶瓷工业 抛光去毛刺 PCB分板机加工 铣削加工 钻孔动力头 医疗加工 走心机高频铣 浮动去毛刺 小径深孔加工
- 按品牌分类
- AAA ASKER B2 BOWERS CITIZEN DMT FUJITOOL FISSO FUJIGEN HONDA GLOI HEINE KANETEC IMADA KANON KAYDIAMOND KROEPLIN MEYER MARUI MITUTOYO NAKANISHI PEACOCK PEAK PHOENIX PI-TAPE RSK RHEINTACHO SK SPI SUN SUPERTECH SWAN UNIVERSAL NOVAPAX XEBEC WIXEY Teclock tohnichi 富士KOSOKU RUBICON KEIBA TAJIMA NIKON Stanley SPI Engeering MARKAL PTC TMC THERMAX RION SHINKO STAO佐藤 TSUBOSAN OSKAR SCHWENK MARK-10 Microset starrett EENPAIX OJIYAS DIGITECH ROECKLE tites swiss Yamato Cherry DAIWA RABIN MSIY NRS PPS NSK
相关资讯
- 选退磁器请认准顶尖产品KANETEC退磁器
- 精密加工如何选择高速主轴?
- NAKANISHI高速主轴NRR3060-QC实用案例
- 铝铸件去毛刺,机械臂加装NR3060-AQC自动换刀主轴
- NAKANISHI电动高频铣一套包含哪些东西?
- 买进口水平尺找春亨,还是用户聪明
- 水平尺,就是需要这样的!
- KANON扭力扳手N25QLK-SW和N25QLK-SWPM区别
- Cincom B12加装高频铣BM-319加工医疗骨钉梅花
- 机床水平调整,RSK水平仪是首选
- 日本PEACOCK界限量表让您实现自动化检测
- 说起水平仪,客户为何依赖日本RSK品牌
- PCB基板切割,用MSIY-3060国产电主轴,转速6万
- 出24套中西nakanishi气动主轴MSS-2008RA
- Borletti推拉力计,用于开关、电子按键等阻力测量
- 钢件自动化去毛刺,机械臂加装1.2kw自动换刀浮动主轴
- 这13种铝件去毛刺方式,目前最受欢迎的是哪一种呢?
- 汽车压力传感器打磨抛光,用电主轴BMS-4020更高效
- MICROSET高粘性复制胶膜
- 关于NAKANISHI高速主轴的维修事宜
咨询热线:
13612997620
传真:0755-23033513
Q Q:
地址:深圳市宝安49区华创达文化科技产业园D栋507
产品详情
联系我们
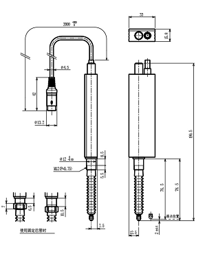
西铁城CITIZEN比测探针IPD-B535
产品应用:

本测定器采用光电检出方式检出中心轴的直线移动量并转为数据。
与以往的表盘式计测器所采用的回转角度转换为长度的计测方式不同,本测定器全测定范围内都可以得到高精度的测定值。
另外,检测器与显示器分离的方式,适合用于机械的组立。多种显示和控制用显示器可供选择,具备单一测定、和差演算、峰值对峰值、3段精度显示等功能可满足各种测量需求
产品特点:

◆15mm及35mm的长行程检测器也能够提供0.5um的分辨率。
◆全测定行程都能提供良好的精度及机械刚性,最适合搭配于自动化设备。
◆具备原点检出功能,关闭电源后不需要再进行归零。
◆IP67保护等级,CE标志认证。
产品规格尺寸:

型式 | IPD-B535/2M | IPD-B515/2M | |
范围 | 35毫米 | 15毫米 | |
精度 | 0.5μm的 | ||
准确性 | 2.0微米或更小 | 1.5微米或更小 | |
测力 | 2.5N或更小 | 1.5N或更小 | |
响应速度※1 | 2000mm/sec | ||
知识产权保护水平 | IP67相当于 | ||
原点位置 | 距离行程下死点约2mm | ||
重量 | 约225克 | 约165克 | |
电缆长度 | 2米 | ||
标准附件
| 测头※2 | F-201(陶瓷) | |
橡胶波纹管 | M-142 | M-139 | |
⊙特殊规格(如测定力等)的订制请与我们洽谈.
※1即为保证正常输出信号条件下测定轴可达到的最快移动速度
※2可更换其他规格的测头使用。

产品使用:

配件延长线 | 长度 | 2m | 3m | 5m | 10m |
型式 | SDA-2340-(1)2M | SDA-2340-(2)3M | SDA-2340-(4)5M | SDA-2340-(6)10M |
◎ IPD-B505F、IPD-P510、IPD-B515、IPD-B535、IPD-C1003、DG-105B共同的缆线。
订购:西铁城CITIZEN探针IPD-B535








1960544536 


